Запасные части ЧТЗ Запасные части ЧТЗ
Херсон
Например:
Актобе
Алдан
или
Выбрать автоматически
Актобе
Алдан
Алматы
Алчевск
Архангельск
Астана
Астрахань
Атырау
Баку
Балашиха
Барнаул
Белгород
Бердянск
Бишкек
Владивосток
Владикавказ
Воркута
Воронеж
Горловка
Грозный
Донецк
Екатеринбург
Иваново
Ижевск
Иркутск
Казань
Калининград
Каменск-Уральский
Караганда
Каховка
Кемерово
Киров
Комсомольск-на-Амуре
Костанай
Краснодар
Красноярск
Красный луч
Ленск
Луганск
Магадан
Магнитогорск
Макеевка
Махачкала
Мелитополь
Минск
Мирный (Якутия)
Москва
Мурманск
Нерюнгри
Нижневартовск
Нижний Новгород
Нижний Тагил
Новая каховка
Новокузнецк
Новосибирск
Новый Уренгой
Норильск
Ноябрьск
Нур-Султан
Омск
Оренбург
Ош
Павлодар
Пермь
Петрозаводск
Петропавловск
Петропавловск-Камчатский
Псков
Ростов-на-Дону
Салехард
Самара
Санкт-Петербург
Саратов
Севастополь
Семей
Симферополь
Сочи
Ставрополь
Сургут
Сыктывкар
Тараз
Ташкент
Токмак
Томск
Тында
Тюмень
Ульяновск
Усинск
Усть-Каменогорск
Уфа
Хабаровск
Ханты-Мансийск
Херсон
Челябинск
Чита
Шымкент
Экибастуз
Энергодар
Южно-Сахалинск
Якутск
Ваш город
Херсон
Войти
Запасные части к тракторам на одном сайте
Отправить заявку


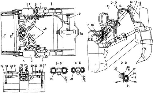
Гидрооборудование рыхлителя 749-72-9СП на ДЭТ-320Б1Р2 ЧТЗ


/
с НДС 20%
Описание
Гидрооборудование рыхлителя 749-72-9СП
Поз.ОбозначениеНаименованиеКол-во
1 749-72-253-01СП Гидроцилиндр 1
2 749-72-233СП-01 Гидроцилиндр 1
3 749-72-233СП Гидроцилиндр 1
4 749-72-284СП Кронштейн 1
5 М12-6gх25.58.019 Болт 1
6 Шайба 12 ОТ 65Г 09 2
7 749-72-253СП Гидроцилиндр 1
8 4368-1220 Бонка М12x22x20 1
9 749-72-189СП Гидроцилиндр 1
10 749-72-289СП Труба 2
11 50-26-487-04СП
50-26-487-05СП
Рукав 25 8
12 50-26-484-08СП
50-26-484-09СП
Рукав 12 2
13 700-57-1063 Штуцер 2
14 50-26-484-06СП
50-26-484-07СП
Рукав 12 2
15 М12-6gх45.58.019Болт 8
16 М12-6gх30.58.019Болт 2
17 700-28-916 Болт 16
18 КО 1,6 Проволока 1,2м
19 700-40-3668 Прокладка 16
20 748-99-1015 Хомутик 8
21 748-99-1014 Бонка 8
22 749-72-515 Кронштейн 1
23 749-72-283СП Кронштейн 1
24 М12-7Н.6.019Гайка 7
25 Прижим 50-60-230 8
26 749-99-226 Прижим 8
27 749-72-285-02СП Труба 1
28 749-72-285СП Труба 1
29 749-72-286-01СП Труба 1
30 749-72-286СП Труба 1
31 749-72-287СП Труба 1
32 749-72-288СП Труба 1
33 749-72-285-01СП Труба 1
34 749-72-285-03СП Труба 1
Гидрооборудование рыхлителя 749-72-9СП