Запасные части ЧТЗ Запасные части ЧТЗ
Херсон
Например:
Актобе
Алдан
или
Выбрать автоматически
Актобе
Алдан
Алматы
Алчевск
Архангельск
Астана
Астрахань
Атырау
Баку
Балашиха
Барнаул
Белгород
Бердянск
Бишкек
Владивосток
Владикавказ
Воркута
Воронеж
Горловка
Грозный
Донецк
Екатеринбург
Иваново
Ижевск
Иркутск
Казань
Калининград
Каменск-Уральский
Караганда
Каховка
Кемерово
Киров
Комсомольск-на-Амуре
Костанай
Краснодар
Красноярск
Красный луч
Ленск
Луганск
Магадан
Магнитогорск
Макеевка
Махачкала
Мелитополь
Минск
Мирный (Якутия)
Москва
Мурманск
Нерюнгри
Нижневартовск
Нижний Новгород
Нижний Тагил
Новая каховка
Новокузнецк
Новосибирск
Новый Уренгой
Норильск
Ноябрьск
Нур-Султан
Омск
Оренбург
Ош
Павлодар
Пермь
Петрозаводск
Петропавловск
Петропавловск-Камчатский
Псков
Ростов-на-Дону
Салехард
Самара
Санкт-Петербург
Саратов
Севастополь
Семей
Симферополь
Сочи
Ставрополь
Сургут
Сыктывкар
Тараз
Ташкент
Токмак
Томск
Тында
Тюмень
Ульяновск
Усинск
Усть-Каменогорск
Уфа
Хабаровск
Ханты-Мансийск
Херсон
Челябинск
Чита
Шымкент
Экибастуз
Энергодар
Южно-Сахалинск
Якутск
Ваш город
Херсон
Войти
Запасные части к тракторам на одном сайте
Отправить заявку


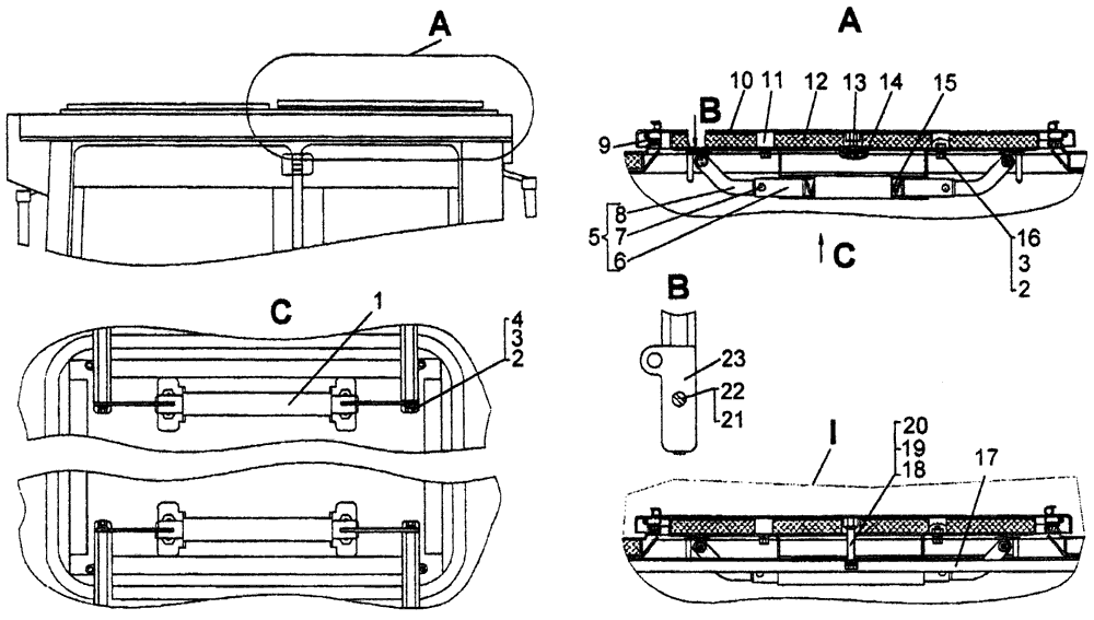
Установка люка на Т10М / Б10М


/
с НДС 20%
Описание
Установка люка на Т10М
#Номер запчастиНаименование деталиКол-во в сборке
-50-59-814СПУстановка люка1
150-59-815СППоручень2
2-Гайка М6-6Н.6.0194
3-Шайба8
431358-1Шайба8
550-59-819СППолзун4
650-59-1658Шток1
7-Винт B2.M6-6gx16.58.0191
850-59-1659Рычаг1
9700-40-8842-03Уплотнение1
10700-40-9328Панель1
1150-59-816СПКрышка1
12700-40-9327Панель1
1350-59-1488Упор1
14700-40-5228Накладка1
15700-38-2763Пружина2
16-Болт М6-6gх16.88.35.Ц9ч4
1764-59-287Планка1
18-Болт М10-6gx60.58.0191
19-Шайба1
2031308-1Шайба3
21-Винт В.М5-6gx12.58.0194
22-Шайба 5Т 65Г 064
2350-59-820СПРычаг4
I - При транспортировании трактора.
Установка люка