Запасные части ЧТЗ Запасные части ЧТЗ
Херсон
Например:
Актобе
Алдан
или
Выбрать автоматически
Актобе
Алдан
Алматы
Алчевск
Архангельск
Астана
Астрахань
Атырау
Баку
Балашиха
Барнаул
Белгород
Бердянск
Бишкек
Владивосток
Владикавказ
Воркута
Воронеж
Горловка
Грозный
Донецк
Екатеринбург
Иваново
Ижевск
Иркутск
Казань
Калининград
Каменск-Уральский
Караганда
Каховка
Кемерово
Киров
Комсомольск-на-Амуре
Костанай
Краснодар
Красноярск
Красный луч
Ленск
Луганск
Магадан
Магнитогорск
Макеевка
Махачкала
Мелитополь
Минск
Мирный (Якутия)
Москва
Мурманск
Нерюнгри
Нижневартовск
Нижний Новгород
Нижний Тагил
Новая каховка
Новокузнецк
Новосибирск
Новый Уренгой
Норильск
Ноябрьск
Нур-Султан
Омск
Оренбург
Ош
Павлодар
Пермь
Петрозаводск
Петропавловск
Петропавловск-Камчатский
Псков
Ростов-на-Дону
Салехард
Самара
Санкт-Петербург
Саратов
Севастополь
Семей
Симферополь
Сочи
Ставрополь
Сургут
Сыктывкар
Тараз
Ташкент
Токмак
Томск
Тында
Тюмень
Ульяновск
Усинск
Усть-Каменогорск
Уфа
Хабаровск
Ханты-Мансийск
Херсон
Челябинск
Чита
Шымкент
Экибастуз
Энергодар
Южно-Сахалинск
Якутск
Ваш город
Херсон
Войти
Запасные части к тракторам на одном сайте
Отправить заявку


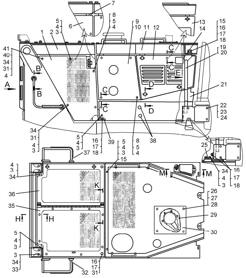
Капот на Т10М / Б10М


/
с НДС 20%
Описание
Капот на Т10М
# Номер запчасти Наименование детали Кол-во в сборке
- 64-55-32СП 1
64-55-32-01СП 2
64-55-32-02СП 3
64-55-32-03СП 4
64-55-32-05СП 5
64-55-32-06СП 6
64-55-32-07СП 7
64-55-32-08СП 8
Капот 1
1 64-55-520 1, 3
64-55-520-01 1, 3
64-55-520-04 5, 7
64-55-520-05 5, 7
Створка (левая)
Створка (правая)
Створка (левая)
Створка (правая)
1
2 64-55-225СП Балка 1
3 - Болт M10-6g×25.58.019 33 1, 2, 3, 4
41 5, 6, 7, 8
4 9
4 - Шайба 10 ОТ 65Г 09 49 1, 2, 3, 4
41 5, 6, 7, 8
5 3197 Шайба 28 1, 2, 3, 4
30 5, 6, 7, 8
6 64-55-520-02 2, 4
64-55-520-03 2, 4
64-55-520-06 6, 8
64-55-520-07 6, 8
Створка (левая)
Створка (правая)
Створка (левая)
Створка (правая)
1
7 64-55-209СП 1, 3
64-55-209-01СП 2, 4
64-55-209-02СП 5, 7
64-55-209-03СП 6, 8
Рама 1
8 28475 Болт 4 1, 2, 3, 4
8 5, 6, 7, 8
9 50-55-486 Створка(левая) 1
10 50-55-487 Створка (правая) 1
11 64-55-210СП 1, 2, 3, 4
50-55-325-03СП 5, 6, 7, 8
Крыша 1
12 50-55-488 1, 2, 5, 6 Створка(левая) 1
13 50-55-488-01 3, 4, 7, 8 Створка (левая) 1
14 50-55-489 Створка (правая) 1
15 700-40-3667 Кольцо 8 1, 2, 3, 4
10 5, 6, 7, 8
16 - Болт M12-6g×30.58.019 10 1, 2, 3, 4
14 5, 6, 7, 8
17 - Шайба 12 ОТ 65Г 09 6 1, 2, 3, 4
14 5, 6, 7, 8
18 3135-1 Шайба 14 1, 2, 3, 4
22 5, 6, 7, 8
19 50-55-388СП 5, 6, 7, 8
50-55-388-01СП 1, 2, 3, 4
Опора 1
20 50-55-389СП 5, 6, 7, 8
50-55-389-01СП 1, 2, 3, 4
Опора 1
21 50-50-323СП
50-50-324СП
Боковина (левая)
Боковина (правая)
1
22 - Шайба 16 ОТ 65Г 09 4
23 31477-01 Шайба 4
24 700-28-2621 Болт 4
25 50-55-449 5, 6, 7, 8 Уголок 2
26 - Болт М8-6g×16.88.35. 019 4 1, 2, 3, 4
27 - Шайба 8Т 65Г 09 4 1, 2, 3, 4
28 31386 1, 2, 3, 4 Шайба 4
29 64-55-546 1, 2, 3, 4 Пластина 1
30 64-55-547 1, 2, 3, 4 Пластина 1
31 31372 Шайба 14 1, 2, 3, 4
22 5, 6, 7, 8
32 64-70-111СП Поручень-подножка 1
33 - Шайба 10 ОТ 65Г 09 4 9
34 31308-1 Шайба 21 1, 2, 3, 4
17 5, 6, 7, 8
35 64-55-211СП 1, 2, 3, 4
64-55-211-01СП 5, 6, 7, 8
Крышка 1
36 64-55-212СП 1, 2, 3, 4
64-55-212-01СП 5, 6, 7, 8
Крышка 1
37 64-70-111-01СП Поручень-подножка 1
38 700-37-368 Пробка 4
39 64-08-473-01 Накладка 4
40 64-55-556 1, 2, 3, 4 Болт 16
41 64-55-557 1, 2, 3, 4 Кольцо 16
1 Для трактора с «обратным» потоком и пусковым двигателем.
2 Для болотоходного трактора с «обратным» потоком и пусковым двигателем.
3 Для трактора с «обратным» потоком и электростартерной системой пуска.
4 Для болотоходного трактора с «обратным» потоком и электростартерной системой пуска.
5 Для трактора с пусковым двигателем с «прямым» потоком.
6 Для болотоходного трактора с пусковым двигателем с «прямым» потоком.
7 Для трактора с электростартерной системой пуска с «прямым» потоком.
8 Для болотоходного трактора с электростартерной системой пуска с «прямым» потоком.
9 При установке фар 761.3711.

Капот на Т10М

# Номер запчасти Наименование детали Кол-во в сборке
1 64-55-216СП Лобовина 1
2 64-55-245СП 9 Защита фары 2
3 - Гайка М12-7Н.6.019 4
4 31372 Шайба 14 1, 2, 3, 4
22 5, 6, 7, 8
5 64-55-556 1, 2, 3, 4 Болт 16
6 - Шайба 10 ОТ 65Г 09 49 1, 2, 3, 4
41 5, 6, 7, 8
4 9
7 3197 Шайба 28 1, 2, 3, 4
30 5, 6, 7, 8
8 64-55-557 1, 2, 3, 4 Кольцо 16
9 18-25-32 Упор 9 1, 2, 3, 4
11 5, 6, 7, 8
10 700-40-3667 Кольцо 8 1, 2, 3, 4
10 5, 6, 7, 8
11 18-25-31 Шайба-колпачок 9 1, 2, 3, 4
11 5, 6, 7, 8
12 - Шплинт 3,2x18 11 1, 2, 3, 4
13 5, 6, 7, 8
13 38385 Пружина 9 1, 2, 3, 4
11 5, 6, 7, 8
14 591044 Амортизатор 4
15 - Болт M10-6g×25.58.019 33 1, 2, 3, 4
41 5, 6, 7, 8
4 9
16 31308-1 Шайба 21 1, 2, 3, 4
17 5, 6, 7, 8
4 9
17 64-55-229СП Балка 1
18 700-42-2771 Крышка 1
19 50-55-370-01 Стержень 1
20 3135-1 Шайба 14 1, 2, 3, 4
22 5, 6, 7, 8
21 17317 Палец 2
22 - Болт M12-6g×30.58.019 10 1, 2, 3, 4
14 5, 6, 7, 8
23 - Шайба 12 ОТ 65Г 09 6 1, 2, 3, 4
14 5, 6, 7, 8
24 64-55-265СП Облицовка 1
25 64-55-266СП Облицовка 1
1 Для трактора с «обратным» потоком и пусковым двигателем.
2 Для болотоходного трактора с «обратным» потоком и пусковым двигателем.
3 Для трактора с «обратным» потоком и электростартерной системой пуска.
4 Для болотоходного трактора с «обратным» потоком и электростартерной системой пуска.
5 Для трактора с пусковым двигателем с «прямым» потоком.
6 Для болотоходного трактора с пусковым двигателем с «прямым» потоком.
7 Для трактора с электростартерной системой пуска с «прямым» потоком.
8 Для болотоходного трактора с электростартерной системой пуска с «прямым» потоком.
9 При установке фар 761.3711.
Капот